首页
机构设置
通知公告
办事指南
规章制度
相关下载
处内动态
党建专栏
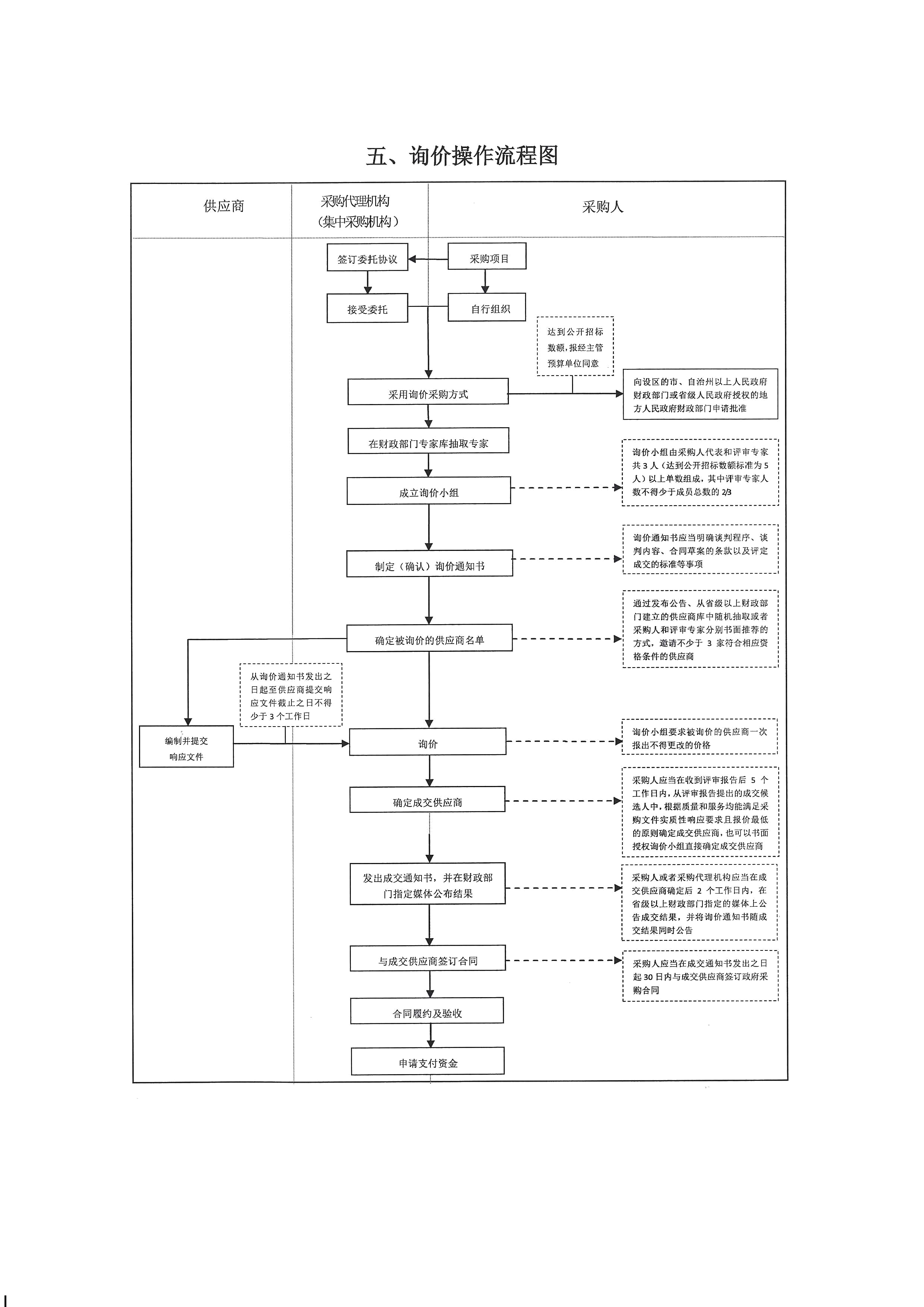
5.询价操作流程图
发布人:计划财务处复审 发布时间:2020-11-24 浏览次数:
92
5.询价操作流程图.jpg
map